Электрическая маневровая лебедка ТЛ-8Б предназначается для транспортировки железнодорожных вагонов, платформ и цистерн. Устройство частично выполняет функции маневровых тепловозов. Агрегат не рассчитан на подъем людей и различных грузов.
Условия эксплуатации лебедки ТЛ-8Б
Конструкция ТЛ-8Б предусматривает возможность работы устройства при соблюдении требований:
- Окружающая температура находится в пределах от –40 до +40 градусов;
- Согласно ГОСТ 15150 исполнение оборудования У или Т второй категории;
- Неагрессивная пожаро- и взрывобезопасная окружающая среда, максимальное содержание пыли в которой не превышает 10 мг/м3;
- В рабочем положении агрегат устанавливается на расположенной горизонтально площадке.
Для перевозки лебедки можно использовать как автомобильный, так и железнодорожный транспорт. При соблюдении правил перевозки, монтажа и эксплуатации производитель гарантирует соответствие характеристик модели указанным в паспорте техническим параметрам и стабильную работу в течение установленного срока службы.
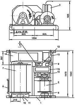
Габаритные размеры электрической лебедки ТЛ-8Б:
Состав лебедки:
1 - Рама;
2 - Барабан вспомогательный;
3 - Установка пусковой электроаппаратуры;
4 - Лента тормозная;
5 - Муфта кулачковая;
6 - Лента тормозная;
7 - Барабан в сборе;
8 - Ролик;
9 - Муфта;
10 - Шестерня;
11 - Корпус подшипника;
12 - Шестерня;
13 - Электродвигатель;
14 - Редуктор Ц2У-315Н;
15 - Редуктор Ц2У-160;
16 - Подшипник 161
|
Вес лебедки без каната, кг
|
1200 |
|
Габариты, мм
|
1534×1545×925 |
|
Мощн. электродвигателя при ПВ 40%, кВт
|
3,2 |
|
Тяговое усилие на главном барабане, кгс
|
5000 |
|
Тяговое усилие на вспомогательном барабане, кгс
|
500 |
|
Скорость навивки каната на 1-м слое (при токе 50Гц) на главном барабане, м/сек
|
0,035 |
|
Скорость навивки каната на 1-м слое (при токе 50Гц) на вспомагательном барабане, м/сек
|
0,38 |
|
Масса груза в передвигаемых вагонах, тонн
|
315 |
|
Канатоемкость барабана на главном барабане, м
|
220 |
|
Канатоемкость барабана на вспомагательном барабане, м
|
230 |
|
Диаметр каната на главном барабане, мм
|
22,5 |
|
Диаметр каната на вспомагательном барабане, мм
|
6,9 |
Оплата заказа для юридических и физических лиц.
1. Оплата по Счету, Счет-договору (для юридических лиц и ИП с расчетным счетом).
1.1. После согласования заказа наш менеджер отправляет на email клиента Счет и Спецификацию или Счет-договор (в зависимости от условий сотрудничества).
1.2. При доставке транспортной компанией (ТК) Продавца «до дверей», ее стоимость выделяется отдельной строкой в Счете/Счет-договоре.
1.3. Доставка «до терминала ТК» будет бесплатной.
1.4. Срок действия Счет-договора 7 календарных дней. По их окончании программа автоматически расформировывает Счет-договор – бронь снимается.
2. Оплата товара.
2.1. Оплата принимается по безналичному расчету путем перевода денежных средств с р/с Покупателя на р/с Продавца.
2.2. При оплате наличными вы дожидаетесь курьера и передаёте ему сумму за товар в рублях. Покупатель подписывает документы, вносит денежные средства и получает чек.
2.3. Датой оплаты считается дата зачисления денежных средств на р/с Продавца.
Подробнее об условиях оплаты читайте в разделе Условия оплаты.
Доставка производится по России и странам СНГ. Предлагаем несколько вариантов отгрузки товара.
1. Доставка транспортной компанией (ТК) или курьерской службой Покупателя.
1.1. Мы сотрудничаем с транспортными компаниями:
- Транспортная компания КИТ.
- Деловые линии.
- ПЭК.
Также доставка может быть осуществлена:
- транспортными компаниями;
- авиа- и ж/д транспортом;
- контейнерными перевозками;
- экспресс-почтой, либо курьерской доставкой;
До транспортной компании доставляем бесплатно.
1.2. Покупатель может самостоятельно заказать услуги ТК или курьера и забрать заказ по адресу г. Екатеринбург, ул. Артинская, 6а.
2. Самовывоз со склада Продавца.
Если товар есть в наличии на складе, то заказ можно забрать на следующий день после получения оплаты или в день оплаты при наличии платежки с отметкой банка о проведении платежа. Если товар «под заказ», приезжать за ним можно после уведомления нашего менеджера.
Важно! Перед приездом или отправкой курьера необходимо связаться с менеджером и уточнить готовность товара к отгрузке.
Услуга доступна по адресу г. Екатеринбург, ул. Артинская, 6а, офис 2, с 9:00 до 17:00.
3. Доставка заказа ТК Продавца «до дверей» Покупателя.
Подробнее об условиях доставки читайте в разделе Условия доставки.
